2022년 상반기에는 공모주가 정말 없었습니다. 대어는 물론 아예 공모주 자체가 많지 않았는데 2021년 대비 27%가량 줄어든 것이라고 보고 있습니다. 뿐만 아니라 공모주 역시 다른 주식시장의 흐름처럼 수익이 좋지 못했습니다. 수요예측으로 볼 때 작년과 비교해 손색이 없었던 공모주들 역시 따상은 고사하고 더블도 거의 없었고 수요예측 점수가 나빠서 청약을 철회하는 경우도 많았습니다. 상장 당일 공모가 이하를 기록하는 일도 적지 않았고 증권사의 수수료를 빼고 적자인 공모주도 여럿 있었습니다.

이런 상황에서 7월에는 공모주가 대거 등장합니다. IPO 대어들도 속속 청약을 대기하고 있습니다.
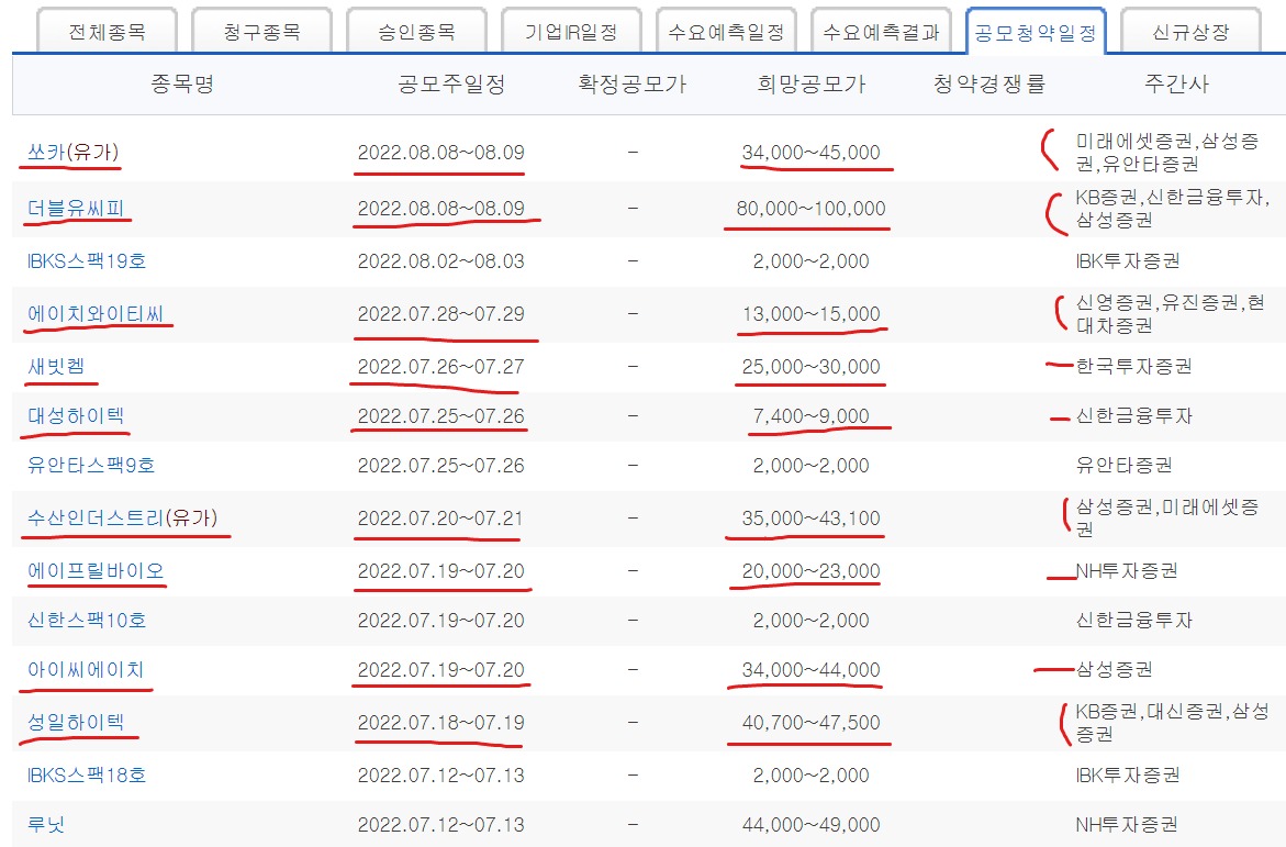
그럼 2022년 7월 공모주 일정에 대하여 알아보도록 하겠습니다.
1. 2022년 7월 공모주 일정
위의 사이트는 38 커뮤니케이션인데 제가 공모주나 장외 거래를 확인할 때 사용하는 사이트 입니다.
사실 공모주는 분석하지 않은지 꽤 되었는데 그러다 보니 바르지 못한 상장에만 눈이 먼 기업에 당하는 기분이 드는 공모주도 간혹 있었습니다. 그래서 작은 돈이지만 공모주도 수요예측을 물론 가장 중요하게 보고 있지만 그 기업이 올바른 기업인지는 꼭 한번 확인해 보는 것도 중요할 것 같습니다. 그러므로 분석 내용이나 매출 여부에 대하여 궁금하신 사항이 있으시면 위에서 바로 접속이 가능하오니 확인해 보시면 도움이 됩니다.
2. 2022년 7월 공모주에서 들어갈 공모주는?
전 일단 공모주에 들어갈 때 그냥 3가지만 봅니다.
1) 기업의 현재 상태
흑자냐 적자냐, 가능성이 있는 도덕적이고 정직한 기업이냐 등을 따집니다. 상장 시 기업 관련자들은 매우 큰돈을 법니다. 돈 때문에 양심에 어긋나는 행동, 투자자들에게 손해가 되는 행동도 서슴지 않는 것 같아서 이 점을 보는 편인데 요즘은 그것을 놓쳤었습니다. 역시 수익이 나빠지더군요. 저 역시 정도를 지켰어야 했는데 말입니다.
2) 공모주 수요예측
1000:1 이상은 무조건 되어야 생각해 봅니다. 얼마 전에 요즘 수요예측 결과가 너무 안 좋아서 700대의 수요예측에 들어갔었는데 매우 후회했습니다. 이젠 원래 지켰던 정도를 지킬 생각입니다.
3) 청약 당일 경쟁률
청약 둘째 날 첫날의 경쟁률을 보고 괜찮으면 최종적으로 다음날 들어갑니다. 사실 유튜브에 실시간 조회를 해주는 경우가 많아서 시간만 있다면 그런 쪽을 확인해 보는 것도 좋습니다.
이번 공모주 청약에는 관련 증권사가 2개 이상인 곳도 많습니다. 그만큼 규모가 크다는 얘기인데 어느 증권사에 청약을 해야 가장 유리한지도 확인해 보시고 들어가 보시는 것이 좋습니다. 특히 균등 청약이 아니라 비례 청약까지 감안하고 있다면 좀 더 심사숙고해야 한다고 생각합니다.
주식시장은 정말 바닥을 모른다 싶을 정도로 추락 중이고 많은 자금이 주식시장에서 빠져 다른 쪽으로 향하고 있지만 그나마 공모주는 아직 할만해서 합니다만 이것도 작년에 비하면 수익이 정말 작아졌습니다. 이렇게 견디다 보면 좋은 날이 오길 기대하며 저도 오늘 들어갈 공모주를 차근차근 추려보겠지만 결국 청약 당일이 가야 결정되는 거니까 청약 스케줄을 잊지 않는 것이 가장 중요할 것 같습니다.
또 8월에 IPO 대어들이 급 공모주로 등장하니 그것도 기대해보며 오늘 글을 마치도록 하겠습니다.
그 외에 현대차, 기아차에 관심이 있으신 분들은 아래 글을 읽어보시는 것도 도움이 되실 것 같아 남깁니다.
기아차 주가 전망 상승이유와 하락이유--->>
'주식과 경제' 카테고리의 다른 글
| 2022 연말 배당금 상위 종목 효성티엔씨 배당금 (0) | 2022.12.05 |
|---|---|
| 2022년 8월 공모주 일정 하반기 대어들 뭐가 있을까? (1) | 2022.07.12 |
| 현대차 주가 상승이유와 하락이유 총정리 (0) | 2022.06.16 |
| 기아차 주가 전망 상승이유와 하락이유 (0) | 2022.06.14 |
| 대한항공 주가 아시아나 주가 상승요인 하락요인 확인 (0) | 2022.06.09 |




